原來10KV高壓中置式開關柜是這樣出爐的
由于電力系統的不斷升級和廣泛應用,企業為了提供生產效率和減少成本,就必須解決配電問題。KYN28A高壓開關柜它適用于三相交流額定電壓12KV、24KV、額定頻率50(60)Hz電力系統,用于接受和分配電能并對電路實行控制、保護及監測,所以它是企業必不可少的配電設備。那么你知道KYN28A高壓開關柜價格是怎么算出來的嗎?

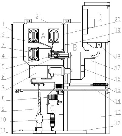
A.母線室 B.斷路器手車室 C。電纜室 D儀表室
KYN28A高壓開關柜有殼體、儀表室、斷路器手車室、母線室、電纜室幾部份組成。在核算成本時要根據用戶的設計圖紙對元器件的選型進行審核,然后根據品牌要求找出對應的元器件價格。將殼體、元器件價格、輔件價格、包裝費、加工費相結合算出成本,再將低利潤算到一起,就行成了一臺KYN28A高壓開關柜價格。

國內生產KYN28A高壓開關柜廠家很多,所以價格方面相對來說競爭力很大,這樣市場上的價格很亂,質量也不可靠,得潤電氣建議用戶在選擇購買生產廠家時,一定要衡量是不是好的高壓開關柜生產廠家,信譽如何,服務是否周到、價格是否合理等因素,才能保證企業在合理價格成交的情況下,保證企業的正常運轉。











